
江苏欧密格能源设备有限公司
联系人: 石玉丽
手机: 15261141319
电话: 0519-85133688
传真: 0519-85193886
网址: www.czomg.com
地址: 常州市新北区太湖东路创意产业园D座1221室

产品介绍:
中压国标铸钢闸阀的启闭件是闸板,闸板的运动方向与流体方向相垂直,闸阀只能作全开和全关, 不能作调节和节流。 闸阀具有流体阻力小,密封面受介质冲刷和侵蚀小。,启闭较省力,介质流向不受限制,不扰流、不降低压力,形体简单,结构长度短,制造工艺性好,适用范围广等优点。
国标铸钢闸阀的种类,按密封面配置可分为楔式闸板式闸阀和平行闸板式闸阀,楔式闸板式闸阀又可分为:单闸极式、双闸板式和弹性闸板式;平行闸板式闸阀可分为单闸板式和双闸板式。按阀杆的螺纹位置划分,可分为明杆闸阀和暗杆闸阀两种。
铸钢闸阀操作方式有:手动、齿轮传动、电动、气动等。
应用范围:
中压法兰铸钢闸阀适用于公称压力PN1.6~6.4MPa,工作温度-29~600℃的石油、化工、制药、化肥、电力行业等各种工况的管路上,切断或接通管路介质,不能作调节和节流。适用介质为:水、油品、蒸气、酸性介质等介质。
结构特点与优势:
设计合理,密封可靠,通道流畅,流阻系数小。
闸板、阀座密封面用铁基合金堆焊或司太立(stellite)钴基硬质合金堆焊而成,耐磨、耐高温、耐腐蚀、抗擦伤性能好、使用寿命长。
采用楔式弹性闸板或钢性楔式单闸板结构,中大口径设置滚动轴承,开关灵活,启闭轻松。
阀杆经调质及表面氮化处理,有良好的抗腐蚀性,抗擦伤性和耐磨性。
可采用各种配管法兰标准及法兰密封面型式,满足各种工程需要及用户要求。
阀体材料品种齐全,填料、垫片可根据实际工况或用户要求合理选配,能适用于各种压力、温度及介质工况。
标准规范:
设计制造标准:GB/T 12234-2007
结构长度标准:GB/T 12221-2005
连接法兰标准:GB/T 9113
压力温度等级:GB/T 12224-2005
试验检验标准:GB/T 13927-2008
性能规范:
公称压力 PN(MPa) |
试验压力(MPa) | 适用温度(℃) | 适用介质 | |||
| 强度试验 | 密封试验 | WCB | Cr5Mo | 1Cr18Ni9Ti | ||
| 1.6 | 2.4 | 1.8 | ≤425 | ≤540 | ≤600 | 水、油品、蒸气、酸性介质 |
| 2.5 | 3.8 | 2.8 | ||||
| 4.0 | 6.0 | 4.4 | ||||
| 6.4 | 9.6 | 7.1 | ||||
零件材料与工况:
| 零件名称 | 材料牌号 | |||||
| 阀体 | WCB | ZGCr5Mo | CF8 | CF8M ZG1Cr18Ni9Ti |
CF3 | CF3 |
| 阀盖 | WCB | 12CrMoV ZGCr5Mo |
304 CF8 |
316 CF8M |
CF3 | CF3 316L |
| 支架 | WCB | WCB | CF8 | CF8M | CF3 | CF3 |
| 闸板 | WCB | ZGCr5Mo | CF8 | CF8M | CF3 | CF3 |
| 阀杆 | 2Cr13 | 25Cr2MoV | 1Cr18Ni9Ti | |||
| 阀座 | 25 | 304 | 304 | 304 | 304 | 304 |
| 垫片、垫环、密封环 | 包覆垫片、304、增强柔性石墨 | |||||
| 填料 | 增强柔性石墨 | |||||
| 闸杆螺母 | ZCuA110Fe3 | |||||

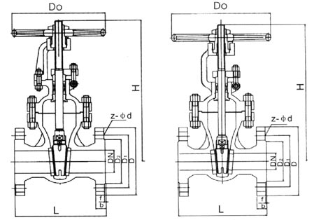
| 公称压力 | 公称通径DN(mm) | 主要外形尺寸及连接尺寸(mm) | 重量 (kg) | |||||||
|
L |
D | D1 | D2 | b-f | z-фd | H | Do | |||
| PN16 | 15 | 130 | 95 | 65 | 45 | 16-2 | 4-14 | 170 | 120 | 5 |
| 20 | 150 | 105 | 75 | 55 | 16-2 | 4-14 | 190 | 140 | 6.5 | |
| 25 | 160 | 115 | 85 | 65 | 16-2 | 4-14 | 205 | 160 | 9 | |
| 32 | 180 | 135 | 100 | 78 | 18-2 | 4-18 | 270 | 180 | 12 | |
| 40 | 200 | 145 | 110 | 85 | 18-3 | 4-18 | 310 | 200 | 26.5 | |
| 50 | 250 | 160 | 125 | 100 | 18-3 | 4-18 | 358 | 240 | 29 | |
| 65 | 265 | 180 | 145 | 120 | 18-3 | 4-18 | 373 | 240 | 33 | |
| 80 | 280 | 195 | 160 | 135 | 20-3 | 8-18 | 435 | 280 | 45 | |
| 100 | 300 | 215 | 180 | 155 | 20-3 | 8-18 | 500 | 300 | 63 | |
| 125 | 325 | 245 | 210 | 185 | 22-3 | 8-18 | 614 | 320 | 108 | |
| 150 | 350 | 280 | 240 | 210 | 24-3 | 8-23 | 674 | 360 | 134 | |
| 200 | 400 | 335 | 295 | 265 | 26-3 | 12-23 | 818 | 400 | 192 | |
| 250 | 450 | 405 | 355 | 320 | 30-3 | 12-25 | 969 | 450 | 273 | |
| 300 | 500 | 460 | 410 | 375 | 30-4 | 12-25 | 1145 | 560 | 379 | |
| 350 | 550 | 520 | 470 | 435 | 34-4 | 16-25 | 1280 | 640 | 590 | |
| 400 | 600 | 580 | 525 | 485 | 36-4 | 16-30 | 1452 | 640 | 850 | |
| 450 | 650 | 64 | 585 | 545 | 40-4 | 20-30 | 1541 | 720 | 907 | |
| 500 | 700 | 705 | 650 | 608 | 44-4 | 20-34 | 1676 | 720 | 958 | |
| 600 | 800 | 840 | 770 | 718 | 48-5 | 20-41 | 1874 | 800 | 1112 | |
| PN25 | 15 | 130 | 95 | 65 | 45 | 16-2 | 4-14 | 170 | 5.5 | |
| 20 | 150 | 105 | 75 | 55 | 16-2 | 4-14 | 190 | 7 | ||
| 25 | 160 | 115 | 85 | 65 | 16-2 | 4-14 | 205 | 11 | ||
| 32 | 180 | 135 | 100 | 78 | 18-2 | 4-18 | 270 | 14 | ||
| 40 | 200 | 145 | 110 | 85 | 18-3 | 4-18 | 310 | 30 | ||
| 50 | 250 | 160 | 125 | 100 | 20-3 | 4-18 | 358 | 34 | ||
| 65 | 265 | 180 | 145 | 120 | 22-3 | 8-18 | 373 | 36 | ||
| 80 | 280 | 195 | 160 | 135 | 22-3 | 8-18 | 435 | 50 | ||
| 100 | 300 | 230 | 190 | 160 | 24-3 | 8-23 | 500 | 69 | ||
| 125 | 325 | 270 | 220 | 188 | 28-3 | 8-25 | 614 | 116 | ||
| 150 | 350 | 300 | 250 | 218 | 30-3 | 8-25 | 674 | 141 | ||
| 200 | 400 | 360 | 340 | 278 | 34-3 | 12-25 | 818 | 192 | ||
| 250 | 450 | 425 | 370 | 332 | 36-3 | 12-30 | 969 | 207 | ||
| 300 | 500 | 485 | 430 | 390 | 40-4 | 16-30 | 1145 | 400 | ||
| 350 | 550 | 550 | 490 | 448 | 44-4 | 16-34 | 1280 | 631 | ||
| 400 | 600 | 610 | 550 | 505 | 48-4 | 16-34 | 1452 | 900 | ||
| 450 | 650 | 660 | 600 | 555 | 50-4 | 20-34 | 1541 | 1013 | ||
| 500 | 700 | 730 | 660 | 610 | 52-4 | 20-41 | 1676 | 1166 | ||
| 600 | 800 | 840 | 770 | 718 | 56-5 | 20-41 | 1874 | 1258 | ||