
江苏欧密格能源设备有限公司
联系人: 石玉丽
手机: 15261141319
电话: 0519-85133688
传真: 0519-85193886
网址: www.czomg.com
地址: 常州市新北区太湖东路创意产业园D座1221室

产品介绍:
国标闸阀的启闭件是闸板,闸板的运动方向与流体方向相垂直,闸阀只能作全开和全关, 不能作调节和节流。 闸阀具有流体阻力小,密封面受介质冲刷和侵蚀小。,启闭较省力,介质流向不受限制,不扰流、不降低压力,形体简单,结构长度短,制造工艺性好,适用范围广等优点。
国标铸钢闸阀的种类,按密封面配置可分为楔式闸板式闸阀和平行闸板式闸阀,楔式闸板式闸阀又可分为:单闸极式、双闸板式和弹性闸板式;平行闸板式闸阀可分为单闸板式和双闸板式。按阀杆的螺纹位置划分,可分为明杆闸阀和暗杆闸阀两种。
铸钢闸阀操作方式有:
手动、齿轮传动、电动、气动等。
应用范围:高压国标铸钢闸阀适用于公称压力PN4.0~10.0MPa,工作温度-29~600℃的石油、化工、制药、化肥、电力行业等各种工况的管路上,切断或接通管路介质,不能作调节和节流。适用介质为:水、油品、蒸气、酸性介质等。
结构特点与优势:
1、流体阻力小 , 密封面受介质的忡刷和侵蚀小。
2、开闭较省力。
3、介质流向不受限制 , 不扰流、不降低压力。
4、形体简单 , 结构长度短,制造工艺性好,适用范围广。
闸阀的安装与维护应注意以下事项:
手轮、手柄及传动机构均不允许作起吊用,并严禁碰撞。
双闸板闸阀应垂直安装(即阀杆处于垂直位置 , 手轮在顶部 )。
带有旁通阀的闸阀在开启前应先打开旁通阀(以平衡进出口的压差及减小开启力 )。
带传动机构的闸阀,按产品使用说明书的规定安装。
如果阀门经常开关使用 , 每月至少润滑一次。
标准规范:
设计制造标准:GB/T 12234-2007
结构长度标准:GB/T 12221-2005
连接法兰标准:GB/T 9113
压力温度等级:GB/T 12224-2005
试验检验标准:GB/T 13927-2008
性能规范:
| 公称压力 PN(MPa) |
试验压力(MPa) | 适用温度(℃) | 适用介质 | |||
| 强度试验 | 密封试验 | WCB | Cr5Mo | 1Cr18Ni9Ti | ||
| 1.6 | 2.4 | 1.8 | ≤425 | ≤540 | ≤600 | 水、油品、蒸气、酸性介质 |
| 2.5 | 3.8 | 2.8 | ||||
| 4.0 | 6.0 | 4.4 | ||||
| 6.4 | 9.6 | 7.1 | ||||
| 零件名称 | 材料牌号 | |||||
| 阀体 | WCB | ZGCr5Mo | CF8 | CF8M ZG1Cr18Ni9Ti |
CF3 | CF3 |
| 阀盖 | WCB | 12CrMoV ZGCr5Mo |
304 CF8 |
316 CF8M |
CF3 | CF3 316L |
| 支架 | WCB | WCB | CF8 | CF8M | CF3 | CF3 |
| 闸板 | WCB | ZGCr5Mo | CF8 | CF8M | CF3 | CF3 |
| 阀杆 | 2Cr13 | 25Cr2MoV | 1Cr18Ni9Ti | |||
| 阀座 | 25 | 304 | 304 | 304 | 304 | 304 |
| 垫片、垫环、密封环 | 包覆垫片、304、增强柔性石墨 | |||||
| 填料 | 增强柔性石墨 | |||||
| 闸杆螺母 | ZCuA110Fe3 | |||||

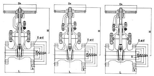
| 公称压力 | 公称通径DN(mm) | 主要外形尺寸及连接尺寸(mm) | 重量 (kg) | |||||||||
| L | D | D1 | D2 | D6 | b-f | f2 | z-фd | H | Do | |||
| PN40 | 15 | 130 | 95 | 65 | 45 | 40 | 16-2 | 4 | 4-145 | 135 | 120 | 6 |
| 20 | 150 | 105 | 75 | 55 | 51 | 16-2 | 4 | 4-14 | 190 | 140 | 8 | |
| 25 | 160 | 115 | 85 | 65 | 58 | 16-2 | 4 | 4-14 | 205 | 160 | 12 | |
| 32 | 180 | 135 | 100 | 78 | 66 | 18-2 | 4 | 4-14 | 270 | 180 | 15 | |
| 40 | 200 | 145 | 110 | 85 | 76 | 18-3 | 4 | 4-18 | 310 | 200 | 31 | |
| 50 | 250 | 160 | 125 | 100 | 88 | 20-3 | 4 | 4-18 | 371 | 250 | 34 | |
| 65 | 280 | 180 | 145 | 120 | 110 | 22-3 | 4 | 4-18 | 391 | 280 | 39 | |
| 80 | 310 | 195 | 160 | 135 | 121 | 22-3 | 4 | 8-18 | 455 | 320 | 52 | |
| 100 | 350 | 230 | 190 | 160 | 150 | 24-3 | 4.5 | 8-18 | 551 | 360 | 80 | |
| 125 | 400 | 270 | 220 | 188 | 176 | 28-3 | 4.5 | 8-23 | 628 | 400 | 127 | |
| 150 | 450 | 300 | 250 | 218 | 204 | 30-3 | 4.5 | 8-25 | 708 | 400 | 154 | |
| 200 | 550 | 375 | 320 | 282 | 260 | 38-3 | 4.5 | 8-25 | 885 | 450 | 263 | |
| 250 | 650 | 445 | 385 | 345 | 313 | 42-3 | 4.5 | 12-30 | 906 | 560 | 368 | |
| 300 | 750 | 510 | 450 | 408 | 364 | 46-4 | 4.5 | 12-34 | 1203 | 640 | 547 | |
| 350 | 850 | 570 | 510 | 465 | 422 | 52-4 | 5 | 16-34 | 1341 | 640 | 679 | |
| 400 | 950 | 655 | 585 | 535 | 474 | 18-2 | 5 | 16-34 | 1492 | 720 | 953 | |
| PN64 | 15 | 170 | 105 | 75 | 55 | 41 | 20-2 | 4 | 4-14 | 140 | 100 | 7 |
| 20 | 190 | 125 | 90 | 68 | 51 | 22-2 | 4 | 4-18 | 140 | 100 | 9 | |
| 25 | 210 | 135 | 100 | 78 | 58 | 24-2 | 4 | 4-18 | 215 | 180 | 12 | |
| 32 | 230 | 150 | 110 | 82 | 66 | 24-3 | 4 | 4-23 | 270 | 180 | 16 | |
| 40 | 240 | 165 | 125 | 95 | 76 | 26-3 | 4 | 4-23 | 345 | 200 | 32 | |
| 50 | 250 | 175 | 135 | 105 | 88 | 28-3 | 4 | 4-23 | 470 | 200 | 39 | |
| 65 | 280 | 200 | 160 | 130 | 110 | 30-3 | 4 | 8-23 | 520 | 250 | 43 | |
| 80 | 310 | 210 | 170 | 140 | 121 | 32-3 | 4.5 | 8-23 | 570 | 300 | 60 | |
| 100 | 350 | 250 | 200 | 168 | 150 | 36-3 | 4.5 | 8-25 | 700 | 300 | 89 | |
| 125 | 400 | 295 | 240 | 202 | 176 | 38-3 | 4.5 | 8-30 | 780 | 350 | 140 | |
| 150 | 450 | 340 | 280 | 240 | 204 | 44-34 | 4.5 | 8-34 | 850 | 350 | 207 | |
| 200 | 550 | 405 | 345 | 300 | 260 | 44-34 | 4.5 | 12-34 | 1035 | 400 | 325 | |
| 250 | 650 | 470 | 400 | 352 | 313 | 48-34 | 4.5 | 12-41 | 1050 | 560 | 467 | |
| 300 | 750 | 530 | 460 | 412 | 364 | 54-4 | 4.5 | 16-41 | 1470 | 640 | 590 | |