
江苏欧密格能源设备有限公司
联系人: 石玉丽
手机: 15261141319
电话: 0519-85133688
传真: 0519-85193886
网址: www.czomg.com
地址: 常州市新北区太湖东路创意产业园D座1221室

产品介绍:
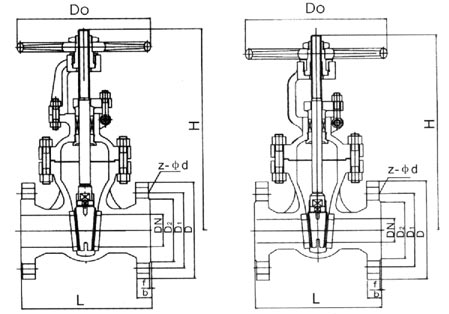
国标闸阀的启闭件是闸板,闸板的运动方向与流体方向相垂直,闸阀只能作全开和全关, 不能作调节和节流。 闸阀具有流体阻力小,密封面受介质冲刷和侵蚀小。,启闭较省力,介质流向不受限制,不扰流、不降低压力,形体简单,结构长度短,制造工艺性好,适用范围广等优点。
国标铸钢闸阀的种类,按密封面配置可分为楔式闸板式闸阀和平行闸板式闸阀,楔式闸板式闸阀又可分为:单闸极式、双闸板式和弹性闸板式;平行闸板式闸阀可分为单闸板式和双闸板式。按阀杆的螺纹位置划分,可分为明杆闸阀和暗杆闸阀两种。
铸钢闸阀操作方式有:手动、齿轮传动、电动、气动等。
应用范围:
国标闸阀适用于公称压力PN1.6~6.4MPa,工作温度-29~600℃的石油、化工、制药、化肥、电力行业等各种工况的管路上,切断或接通管路介质,不能作调节和节流。适用介质为:水、油品、蒸气、酸性介质等。
结构特点与优势:
闸阀的结构设计合理,密封可靠,通道流畅,流阻系数小。
闸板、阀座密封面用铁基合金堆焊或司太立钴基硬质合金堆焊而成,耐磨、耐高温、耐腐蚀、抗擦伤性能好、使用寿命长。
采用楔式弹性闸板或钢性楔式单闸板结构,中大口径设置滚动轴承,开关灵活,启闭轻松。
阀杆经调质及表面氮化处理,有良好的抗腐蚀性,抗擦伤性和耐磨性。
可采用各种配管法兰标准及法兰密封面型式,满足各种工程需要及用户要求。
阀体材料品种齐全,填料、垫片可根据实际工况或用户要求合理选配,能适用于各种压力、温度及介质工况。
闸阀的安装与维护应注意以下事项:
手轮、手柄及传动机构均不允许作起吊用,并严禁碰撞。
双闸板闸阀应垂直安装(即阀杆处于垂直位置 , 手轮在顶部 )。
带有旁通阀的闸阀在开启前应先打开旁通阀(以平衡进出口的压差及减小开启力 )。
带传动机构的闸阀,按产品使用说明书的规定安装。
如果阀门经常开关使用 , 每月至少润滑一次。
国标闸阀的安装使用
1.安装前须检查阀门内腔和密封面等部位,不允许有污物或砂粒附着;
2.各连接部位螺栓,要求均匀拧紧;
3.检查填料部位要求压紧,既保证填料的密封性,也要保证闸板开启灵活;
4.用户在安装阀门前,必须校对阀门型号,连接尺寸及注意介质流向,保证与阀门要求一致性;
5.用户在安装阀门时,必须预留阀门驱动的必要空间;
6.驱动装置的接线须按线路图进行;
7.闸阀产品必须定期保养,不得随意碰撞及挤压,以免影响密封。
标准规范:
设计制造标准:GB/T 12234-2007
结构长度标准:GB/T 12221-2005
连接法兰标准:GB/T 9113
压力温度等级:GB/T 12224-2005
试验检验标准:GB/T 13927-2008

性能规范:
| 公称压力 PN(MPa) |
试验压力(MPa) | 适用温度(℃) | 适用介质 | |||
| 强度试验 | 密封试验 | WCB | Cr5Mo | 1Cr18Ni9Ti | ||
| 1.6 | 2.4 | 1.8 | ≤425 | ≤540 | ≤600 | 水、油品、蒸气、酸性介质 |
| 2.5 | 3.8 | 2.8 | ||||
| 4.0 | 6.0 | 4.4 | ||||
| 6.4 | 9.6 | 7.1 | ||||
零件材料与工况:
| 零件名称 | 材料牌号 | |||||
| 阀体 | WCB | ZGCr5Mo | CF8 | CF8M ZG1Cr18Ni9Ti |
CF3 | CF3 |
| 阀盖 | WCB | 12CrMoV ZGCr5Mo |
304 CF8 |
316 CF8M |
CF3 | CF3 316L |
| 支架 | WCB | WCB | CF8 | CF8M | CF3 | CF3 |
| 闸板 | WCB | ZGCr5Mo | CF8 | CF8M | CF3 | CF3 |
| 阀杆 | 2Cr13 | 25Cr2MoV | 1Cr18Ni9Ti | |||
| 阀座 | 25 | 304 | 304 | 304 | 304 | 304 |
| 垫片、垫环、密封环 | 包覆垫片、304、增强柔性石墨 | |||||
| 填料 | 增强柔性石墨 | |||||
| 闸杆螺母 | ZCuA110Fe3 | |||||