
江苏欧密格能源设备有限公司
联系人: 石玉丽
手机: 15261141319
电话: 0519-85133688
传真: 0519-85193886
网址: www.czomg.com
地址: 常州市新北区太湖东路创意产业园D座1221室

| 概述 ZAZQ(X)型电动三通合流(分流)调节阀有合流和分流二种型式,由DKZ电动执行机构和三通合流或三通分流调节组成,以电源为动力,接受统一的标准信号0~10mA DC或4-20mA Dc驱使阀门开度与此操作信号相对应。合流阀的作用是将一种流体分成两路流体。分流合流阀只能对应选用,但当DN≤80时,合流阀可用于分流场合。可替代两台单、双座调节阀,节省投资,占据空间小。三通调节阀通常用于热交换器的两种介质调节,及简单的配比调节。 主要技术参数 |
![]() |
|
公称通径mm |
合流 |
25 |
32 |
40 |
50 |
65 |
80 |
100 |
125 |
150 |
200 |
250 |
300 |
|
分流 |
80 |
100 |
125 |
150 |
200 |
250 |
300 | ||||||
|
额定流量系数Kv |
合流 |
8.5 |
13 |
21 |
34 |
52 |
85 |
135 |
210 |
340 |
535 |
800 |
1260 |
|
分流 |
85 |
135 |
210 |
340 |
535 |
800 |
1260 | ||||||
|
公称压力 MPa |
1.6 4.0 6.0 | ||||||||||||
|
流量特性 |
直线 | ||||||||||||
|
执 行 机 构 |
Ⅱ型 |
DKZ-310 |
DKZ-310 |
DKZ-410 |
DKZ-510 |
DKZ-510 | |||||||
|
Ⅲ型 |
DKZ-510C |
DKZ-310C |
DKZ-410C |
DKZ-510C |
DKZ-510C | ||||||||
|
出轴推力(N) |
4000 |
4000 |
6400 |
16000 |
16000 | ||||||||
|
行程mm |
16 |
25 |
40 |
60 |
100 | ||||||||
|
上阀盖型式 |
1.6 |
1.0 |
2.5 |
1.6 |
1.5 |
1.0 |
0.65 |
0.4 |
0.3 |
0.16 |
0.26 |
0.18 | |
|
允许压差(MPa) |
普通式(常温型),热片式(中温型) | ||||||||||||
|
介质温度℃ |
-40~230℃(常温型),散热片式230~450℃(中温型),特殊订货-100~600℃ | ||||||||||||
|
可调比 |
30:1 | ||||||||||||
|
法兰标准 |
铸铁按JB78-59,铸钢按JB79-59 | ||||||||||||
|
输入阻抗 |
Ⅱ型:200 Ⅲ型:250 | ||||||||||||
|
出厂状态 |
电开(对上阀座而言),如需电关,订货时应注明 | ||||||||||||
性能指标 |
|
项目 |
指标值 | |
|
基本误差% |
≤±3.5 | |
|
回差% |
≤2.5 | |
|
死区% |
≤3.0 | |
|
始终点偏差% |
电开、电关 |
±2.5 |
|
±2.5 | ||
|
允许泄量L/H |
符合JB/T7387-94Ⅲ 级 小于阀的额定容量×10-3 | |
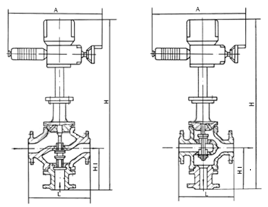
外形尺寸
| ||||
|
公称 通径 DN |
A |
L |
H |
H1 | |||||||||||
|
分流 |
合流 |
PN1.6 |
PN4.0 |
PN6.4 |
分流 |
合流 |
PN1.6 |
PN4.0 |
PN6.4 |
PN1.6 |
PN4.0 |
PN6.4 | |||
|
普通型 |
热片型 |
普通型 |
热片型 | ||||||||||||
|
25 |
520 |
490 |
185 |
190 |
200 |
715 |
865 |
140 |
150 |
160 | |||||
|
32 |
520 |
490 |
200 |
210 |
210 |
721 |
871 |
150 |
160 |
170 | |||||
|
40 |
520 |
490 |
220 |
230 |
235 |
733 |
883 |
160 |
170 |
180 | |||||
|
50 |
520 |
490 |
250 |
255 |
265 |
748 |
898 |
180 |
190 |
200 | |||||
|
65 |
520 |
520 |
275 |
285 |
295 |
839 |
999 |
200 |
220 |
220 | |||||
|
80 |
520 |
520 |
305 |
310 |
320 |
872 |
1032 |
842 |
1002 |
225 |
250 |
265 |
210 |
230 |
240 |
|
100 |
520 |
520 |
350 |
355 |
370 |
896 |
1056 |
846 |
1006 |
245 |
275 |
285 |
220 |
250 |
260 |
|
125 |
520 |
520 |
410 |
425 |
440 |
947 |
1162 |
897 |
1112 |
284 |
320 |
325 |
260 |
300 |
300 |
|
150 |
520 |
520 |
450 |
460 |
475 |
947 |
1162 |
897 |
1112 |
305 |
340 |
340 |
280 |
320 |
320 |
|
200 |
520 |
520 |
550 |
560 |
570 |
965 |
1180 |
905 |
1120 |
350 |
400 |
410 |
320 |
380 |
380 |
|
250 |
520 |
520 |
670 |
740 |
750 |
||||||||||
|
300 |
520 |
520 |
770 |
805 |
820 |
||||||||||
![]() |
![]() |
![]() |
| ZAZQ散热型电动三通合流调节阀 散热型:铸钢:-40~425℃、铸不锈钢:-60~450℃ |
ZDLX电子式电动三通分流调节阀 该产品配3610L系列直行程电子式电动执行机构,是引进日本工装技术生产的高性能电动执行机械。机内有伺服系统无需另配伺服放大器。 |
ZDLX电子式电动三通分流调节阀 配德国PSL系列直行程电子式电动执行机构,机内有伺服系统。具有体积小、重量轻、推力大、等特点。 |
| 订货须知 订货时请填写《规格书》或注明以下内容: 一、若订货前还未选定型号,请向我们提供您的使用参数:1.公称通径、额定流量系数KV, 2.流体性质(包括公称压力、温度、粘度或酸碱性),3.阀作用形式(电-关式或电-开式),4.流量特性, 5.阀前、阀后压力,6.阀体、阀芯材料,7.输入信号,8.是否带附件,说明附件型号。以便我们的为您正确选型。 二、若已经由设计单位选定我公司的产品型号,请按型号直接向我司销售部订购; 三、当使用的场合非常重要或管路比较复杂时,请您尽量提供设计图纸和详细参数,由我们的专家为您审核把关。 |